国网玉田县供电公司共产党员服务队员张洪亮、宋金奎来到玉田县于家铺扬水站开展专项安全检查,为安全度汛筑牢坚实电力保障。
为做好防汛工作,国网玉田县供电公司认真分析历史汛期数据与气象预告,结合治本攻坚三年行动,对辖区27座重点排涝站进行“地毯式"排查。
“我们重点检查了排涝站的备用电源切换装置和控制系统,确保在突发停电时应急电源能快速启动,保障水泵持续排水。"张洪亮介绍道,排查时,服务队员们利用红外测温仪对变压器、开关柜、电缆接头等关键电力设备进行“健康体检",同时全面排查排涝站内配电线路、控制柜、水泵电机等设备运行状态,确保排涝站在汛期安全稳定运行。
此外,针对汛期恶劣天气频发的特点,国网玉田县供电公司提前制定排涝站电力保障应急预案,组建24小时应急抢修专班,储备应急发电车、抢修物资及备品备件,确保突发故障“快速响应、高效处置"。同时,国网玉田县供电公司还实时监测排涝站用电负荷与设备运行数据,实现异常状态“早发现、早预警"。
截至目前,国网玉田县供电公司已经对27座排涝站的10千伏线路及设备进行2次隐患排查,共发现隐患17处,并已全部完成调整。下一步,国网玉田县供电公司将继续密切关注天气变化,加强与县水利局的沟通联系,持续加强对辖区内电力设施的巡检力度,以高度的责任感和使命感,全力做好防汛各项工作,持续擦亮“绿色希冀"品牌。

一.简介(LYWHX-6500电力行业新产品“中置柜核相仪"快速高精度的测试能力)
LYWHX-6500中置柜无线高压核相仪是专为手车式高压开关柜(中置柜)核相而精心设计制造,本仪器采用非接触式核相技术,在中置柜外接收核相数据,即可对A、B、C三相线路同时完成相位判断,相序测试,规避了操作人员与柜内高压电直接接触的风险,排除了核相的安全隐患,确保了操作人员和设备的安全。仪器操作特别简单,可靠快速。
LYWHX-6500中置柜无线高压核相仪由主机、探测器组、监测软件、USB通讯线等组成,主机采用3.5寸真彩液晶屏,可以同屏显示相位、相序、核相结果及电压等级;同时三相显示,清晰直观,使测试更简单轻松。
监测软件具有在线实时监控、历史数据查询、相位指示、相序功能;具有历史数据读取、查阅、保存、打印等功能。
二.电气符号(LYWHX-6500电力行业新产品“中置柜核相仪"快速高精度的测试能力)

三.技术规格(LYWHX-6500电力行业新产品“中置柜核相仪"快速高精度的测试能力)
功 能 | 中置柜核相、相位、相序测试 |
电 源 | 主 机:3.7V,2600mAh充电锂电池 探测器: 3.7V,600mAh充电锂电池 |
核相方式 | 非接触式核相 |
核相电压 | AC 10KV-35KV |
核相距离 | 20m |
相别定性 | 同相:-20°~20°;异相: 100°~140°和220°~260° |
量 程 | 测试相位:0°~360° |
精 度 | 相位:≤±10° |
频率:≤±2Hz | |
分 辩 率 | 相位:1° |
发射频率 | 433MHz、315MHz |
LCD尺寸 | 3.5寸彩屏;显示域:71mm×53mm |
相位指示 | 数字同时显示 |
电压显示 | 显示电压等级 |
显示速率 | 2次/秒 |
数据存储 | 200组(掉电不会丢失数据) |
自动关机 | 开机约15分钟仪表将自动关机 |
电池电压 | 主机电池4格电量显示,当只有1格或0格时,请充电;探测器当指示灯快速闪烁时,表示电池电压低请充电。 |
额定电流 | 探测器:30mA max;主机:150mA max |
仪表质量 | 仪器:约950g(含电池) |
仪器尺寸 | 主机195mm×100mm×45mm; 探测器80mm×46mm×26mm |
绝缘试验 | 主机、探测器:AC3700V/rms(外露金属与塑料外壳间) |
外界干扰 | 无特强电磁场;无433MHz 、315MHz同频干扰 |
工作温湿度 | -10℃~40℃;80%rh以下 |
存放温湿度 | -10℃~60℃;70%rh以下 |
适合安规 | GB13398-92、GB311.1-311.6-8、3DL408-91标准和国家新颁布电力行业标准《带电作业用1kV~35kV便携式核相器通用技术条件DL/T 971-2017》要求 |
符合IEC61481-A2;2004;IEC 61243-1 ed.2:2003标准 |
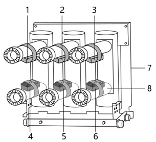
四.仪表结构(LYWHX-6500电力行业新产品“中置柜核相仪"快速高精度的测试能力)

1.探测器 2.探测器绑带
3.探测器电源指示灯 4.探测器充电指示灯
5.探测器开关键 6.探测器充电接口
7.主机 8.主机通讯接口/充电接口
9.主机天线 10.显示屏
11.功能按键 12.主机开关键
13.自校线
五.操作(LYWHX-6500电力行业新产品“中置柜核相仪"快速高精度的测试能力)
1.主机开关机
按POWER键开机,LCD显示测量页面,再按POWER键关机,若开机后LCD持续黑屏闪烁,可能电池电压不足,请充电。仪表开机15分钟后仪表将自动关机,以降低电池消耗。
2.探测器开关机
按POWER键开机,POWER指示灯亮,探测器进入测试模式,再按POWER键关机,若开机后POWER指示灯慢闪烁或变暗,可能电池电压不足,请充电。探测器开机15分钟后POWER指示灯快速闪烁,提示探测器将自动关机,POWER指示灯快速闪烁30秒后自动关机,以降低电池消耗。若POWER指示灯持续闪烁时,按POWER键探测器能继续工作。
3.数据保持
在测试模式下,按向左箭头键,可以保持LCD显示,“HOLD"符号指示。再按向左箭头键解除数据锁定,返回测试模式,“HOLD"符号消失。

4.数据存储
在测试模式下,按向左箭头键保持数据的同时,仪表自动编号并存储当前保持的数据。本仪表能存储200组数据,若存储已满,不再存储数据,必须清理内存后才能再存储。
5.数据查阅
在测试模式下,按MEM键进入数据查阅模式,“RD"符号指示,同时自动显示存储的第001组数据,按向下、向上箭头键“-1、+1",按向左、向右箭头键“-10、+10"进行翻阅,再按MEM键退出查阅模式,返回测试模式。
6.数据删除
在数据查阅模式下,按住MEM键不松开,在按向上箭头键删除所有存储数据,并返回测试模式。

7.数据上传
使用前需先安装USB驱动程序和本仪表上传软件。
在链接中选择进入“核相仪系列",并选择下载“中置柜无线核相仪"。
连接好电脑与主机的USB通讯线,开机,运行软件,即可以读取仪表所存储的历史数据,上传电脑并管理数据。
软件可以在Windows XP、Win7、Win10系统安装(Win7,Win10下请以管理员身份安装和运行),具有在线实时数据、历史查询、数据保存,向量图指示、相位指示功能;具有历史数据读取、查阅、保存、打印等功能。
8.自校验
现场核相前请先做自校验,以确认仪表能正常工作。如下图所示,将自校线插头插入220V电源,然后打开探测器电源,比如A1,A2,背面平放在自检线的感应板上,用手掌压在探测器A1,A2的上面,这是接收主机应显示同相。依次分别自校B1,B2以及C1,C2。只要分别同相就可以了。(注意,220V插头插上后,必须注意安全,避免直接触摸自校线及板面,如有发现绝缘部分有破损立即停止使用)
步骤1:将A1,A2探测器背面放于自校线板面上,插头插到220V电

步骤2:用手按下A1,A2探测器正面,使探测器与自校线板面紧靠

9.核相、相位、相序测试

主机与6个探测器(A1,A2,B1,B2,C1,C2)全部开机,主机与探测器通讯正常,对应指示(左边第1列字母旁边的紫色圆点),通讯不正常时不显示,如下图所示。若出现因信号被柜体金属屏蔽导致信号弱无法通讯,请尽量把主机天线靠近柜体的门缝位置,提高通讯能力。

定性相位即为核相结果,若两探测器相角差在-20°~20°范围内(340°~360°即是-20°~0°),定性为同相;若两探测器相角差在100°~140°或220°~260°范围内,定性为异相。
定性相序,相位在100°~120°时,为顺相序;相位在220°~260°,为逆相序。
参考下面的指示图例,分别将A1,B1,C1通过绑带绑好在中置柜手车上面的触臂的下方,安装是探测器的背面紧靠触臂;然后分别将A2,B2,C2通过绑带绑好在中置柜手车下面的触臂的上方,安装是探测器的背面紧靠触臂。(注意,确认手车是脱离高压,不带电,并是安全的)。
然后当手车推回到高压开关柜后,接收器显示测试到的相位,并判断结果。

1. 探测器C1(红)2. 探测器B1(绿)3. 探测器A1(黄)
4. 探测器C2(红)5. 探测器B2(绿)6. 探测器A2(黄)
7. 手车式开关柜 8. 触臂


国网江苏电力方天公司拓展北斗/GPS对时、控制回路告警等试验项目,不仅契合智能电网高精度、高可靠的运行需求,更将检测维度从单一性能检测升级为多场景、全功能的综合评估;检测效率提升约40%,周期由14天压缩至8天,则展现了企业对效率的很好的追求。这一成果有效缩短了新型电力设备的入网周期,为物资供应的时效性提供了保障,同时也为电网设备的质量管控注入“强心剂",让每一台入网设备都能以最佳状态守护电网安全稳定运行。方天公司凭借成套化检测能力,能够更精准地把控设备质量关,降低电网运行潜在风险,为新型电力设备入网筑牢可靠防线。这不仅有助于提升电网整体运行效能,也为用户带来更稳定、更优质的电力服务体验。
在新型电力系统建设中,设备质量是根基,检测能力是保障。由此,我们要像国网江苏省电力有限公司方天公司那样,持续深化检测技术创新,拓展检测服务边界,完善质量管控体系,在智能配电网建设的浪潮中,以更专业的技术、更高效的服务,为新型电力设备品质升级保驾护航,为构建安全可靠、智能高效的现代电网贡献更多“方天力量"。
上海来扬电气转载其他网站内容,出于传递更多信息而非盈利之目的,同时并不代表赞成其观点或证实其描述,内容仅供参考。版权归原作者所有,若有侵权,请联系我们删除。